Добро пожаловать, Гость
Логин: Пароль: Запомнить меня
  • Страница:
  • 1

ТЕМА: Перенастройка приёмника

Перенастройка приёмника 14 Март 2015 00:22 #2332

  • Xatrix
  • Xatrix аватар
  • Вне сайта
  • Захожу иногда
  • Сообщений: 64
Вопрос к специалистам.
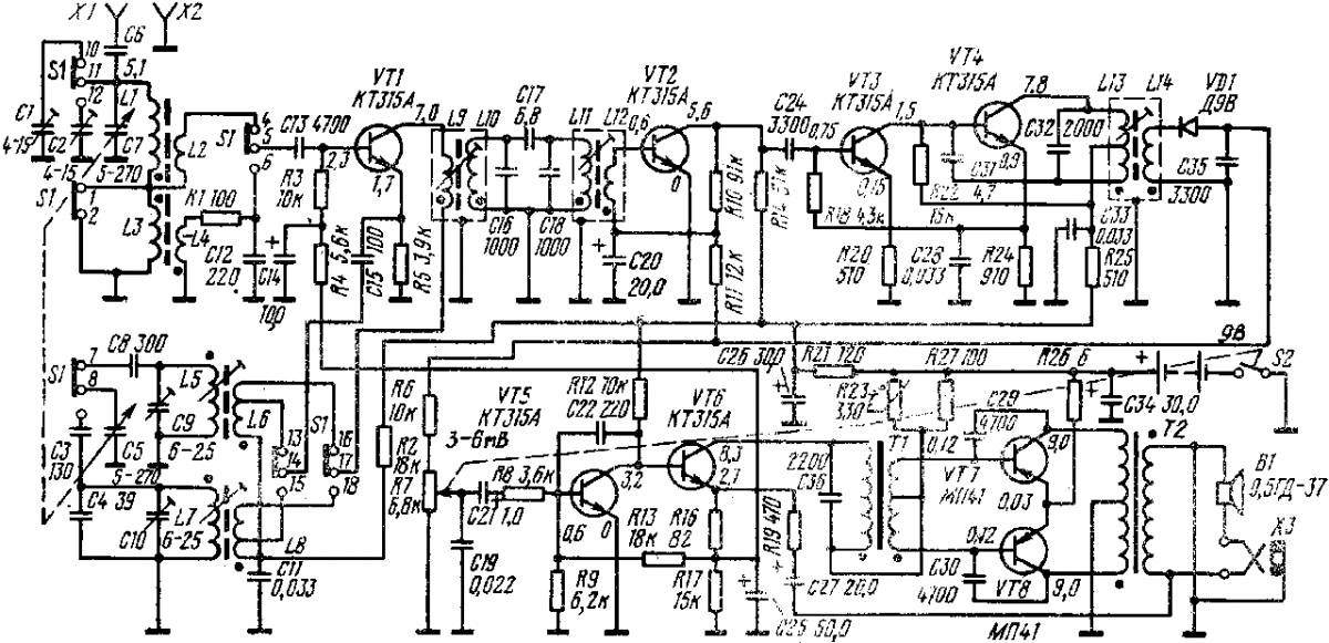
Есть плата радиоприёмника Селга-405. Мне нужно выпаять все ненужные элементы для СВ и оставить только ДВ. После чего настроить частоту на 77,5кГц. Этот радиоприемник принимает от 150кГц в ДВ.
Если ненужные элементы ещё можно вычислить по схеме, то как пересчитать катушки и антенну для нужной мне частоты?

На схеме переключатель в режиме ДВ.
Вложения:
Последнее редактирование: 14 Март 2015 00:22 от Xatrix.
Администратор запретил публиковать записи.

Перенастройка приёмника 14 Март 2015 07:15 #2334

  • scorpic
  • scorpic аватар
  • Вне сайта
  • Живу я здесь
  • Сообщений: 1118
Очень нужная тема!
Администратор запретил публиковать записи.

Перенастройка приёмника 14 Март 2015 14:15 #2336

  • Xatrix
  • Xatrix аватар
  • Вне сайта
  • Захожу иногда
  • Сообщений: 64
Согласен, что нужная, но я в этом не очень сильно разбираюсь, поэтому и прошу помочь.
Надеюсь, что я словлю сигнал от DCF77 на расстоянии примерно 1200км.
Тем более, что при наличии целой кучи деталей, покупать готовый за 15€ как-то не особо хочется... :cheer:
Администратор запретил публиковать записи.

Перенастройка приёмника 14 Март 2015 14:21 #2337

  • scorpic
  • scorpic аватар
  • Вне сайта
  • Живу я здесь
  • Сообщений: 1118
Вот и я не сильно разбираюсь,а очень хочется Берестье на FM перестроить
Администратор запретил публиковать записи.

Перенастройка приёмника 15 Март 2015 03:06 #2388

  • Siola
  • Siola аватар
  • Вне сайта
  • Живу я здесь
  • Сообщений: 742
Обзаводиться генератором с модуляцией или везти ко мне :cheer: .
Приземлился тут! И окончательно...
Администратор запретил публиковать записи.
Спасибо сказали: etlik

Перенастройка приёмника 15 Март 2015 08:02 #2390

  • scorpic
  • scorpic аватар
  • Вне сайта
  • Живу я здесь
  • Сообщений: 1118
Потеплеет привезу.... :vodka: :drunk:
Администратор запретил публиковать записи.

Перенастройка приёмника 15 Март 2015 23:10 #2433

  • Xatrix
  • Xatrix аватар
  • Вне сайта
  • Захожу иногда
  • Сообщений: 64
Siola, Вы хоть скажите, кого приглашаете... :D
Последнее редактирование: 15 Март 2015 23:10 от Xatrix.
Администратор запретил публиковать записи.
  • Страница:
  • 1

Дни рождения

В ближайшее время дней рождения нет :(. Но это не повод расстраиваться :)
Время создания страницы: 0.247 секунд
Белорусский рейтинг MyMinsk.com Каталог TUT.BY Каталог белорусских сайтов Счетчик посещений сайта Яндекс.Метрика